DDU-002

DDU-002
or
Call 1-866-609-2672
Description
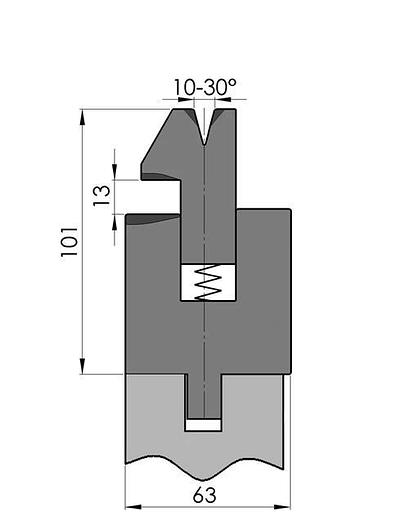
New Standard flattening tool
Working Height H
closed
= 88mm
Width W = 63mm
New Standard flattening toolHclosed=88mm, B=63mm, existing of:Flattening part (upper) provided with V=10mm/30°, Ri=1mm + flattening surface CNC-Deephardened® (at least 4mm / 56-60HRc), mat.: C45;Guide part (lower) provided with OZU-adaptation B=13.00mm, spring action, stroke=13mm, flattening surface CNC-Deephardened® (at least 4mm / 56-60HRc)weight: 37.3kg/m, max.load: 70ton/m.
Specifications
| Condition | New |
| Type/length | DDU-002/1 515mm |
| Weight | 19.2kg |
| Max.load | 70ton/m |

